产品介绍
API美标闸阀启闭件是闸板,闸板的运动方向与流体方向相垂直,闸阀只能作全开和全关,不能作调节和节流。
闸阀适用的压力、温度及口径范围很大,尤其适用于中、大口径的管道。其设计制造标准是API 600、API 602,阀门适用于压力等级为CALSS150~CALSS2500的工业管道上。
API美标闸阀的特点:
1、美标闸阀流体阻力小。闸阀闸体内部介质通道是直通的,介质流经闸阀时不改变其流动方向,因而流动阻力较小。
2、启闭较省力。启闭时闸板运动方向与介质流动方向相垂直。与截止阀相比,API闸阀的启闭较为省力。
3、介质流动方向一般不受限制。介质可从闸阀两侧任意方向流过,均能达到接通或截断的目的。便于安装,适用子介质的流动方向可能改变的管路中。
API美标闸阀性能规范
API美标闸阀Z41H、Z41Y、Z41W| 公称通径 | DN15-DN1000(1/2"-40") |
| 公称压力 | 150LB-1500LB |
| 阀体材质 | 碳钢,铸钢,铬钼钢,不锈钢,低温钢 |
| 适用温度 |
碳钢-29℃~425℃; 不锈钢-40℃~550℃; 低温钢-46℃~350℃, 铬钼钢-29℃~550℃ |
| 适用介质 | 水,油品,蒸汽,导热油 |
| 标准 |
设计与制造:API 600 法兰尺寸:ANSI B16.5 结构长度:ANSI B16.10 压力~温度:ANSI B16.34 检验与试验:API 598 |
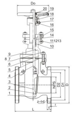
API美标闸阀外形结构尺寸


声明:本文中所有文字、数据、图片均只适用于参考。询价提供相关产品参数:产品名称、型号、口径、材质、介质、压力、温度、连接标准、数量等,如对产品有特殊要求,请在询价时一并提出。或者使用场合非常重要或环境比较复杂,请您尽量提供设计图纸和详细参数,由我们专业工程师为您审核选型。
感谢访问我司网站,如你对该产品还有任何疑问可致电我们,我们将为您提供优质的售前咨询服务。咨询手机:15002111058;电话:021-56051151。
更多产品






