Z45W不锈钢暗杆法兰闸阀是一款暗杆(阀杆为不外露)式设计,适用于户外工况.由手轮、阀体、阀盖、阀杆、闸板、等重要部件组成.此型号不锈钢材料有CF8/304、CF3/304L、CF8M/316、CF3M/316L等材料,广泛应用于化工等领域。
暗杆闸阀采用支架封闭式,阀杆藏于内,所以就叫暗杆。不锈钢暗杆闸阀主要用于户外等场所以及风沙或灰尘比较多地方,以防止灰尘等杂物进入阀杆影响操作。
Z45W不锈钢暗杆法兰闸阀产品特点:
1、暗杆设计,适用于户外及下水道等工况。
2、阀杆不易被灰尘及其他杂志侵入,不易磨损。
3、单楔式闸板设计,具有越关越紧密的特点,密封性能好。
4、结构合理,使用寿命长。
5、缺点是不适合高压工况,只能用于低压。
6、优质不锈钢材料加工而成,耐腐蚀,耐高温等优点。
7、多旋转开关结构,转动手轮可带动阀杆(阀杆连接于闸板)起到启闭作用。
8、转动时与手轮与阀杆一同上升下降,顺时针为关闭,逆时针为开启。
Z45W不锈钢暗杆法兰闸阀主要性能规范
| 型号 | 公称压力MPa | 试验压力MPa |
工作 温度 |
使用 介质 |
||
| 强度 | 密封(液) | 低压密封(气) | ||||
| Z45W | 1.0~2.5 | 1.5 | 1.1 | 0.6 | ≤200℃ | 酸、碱 |
| 型号 | 阀体 | 阀盖 | 闸板 | 阀杆螺母 | 阀杆 | 填料 |
| Z45W | 不锈钢 | 不锈钢 | 铜 | 不锈钢 | PTFE,油浸石棉盘根 | |
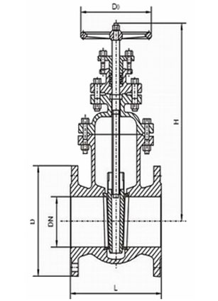
Z45W不锈钢暗杆法兰闸阀外形结构尺寸
|
口径 DN(mm) |
Z45W-10 | |||
| L | D | H | D0 | |
| 40 | 165 | 145 | 250 | 160 |
| 50 | 180 | 160 | 270 | 180 |
| 65 | 195 | 180 | 300 | 180 |
| 80 | 210 | 195 | 330 | 200 |
| 100 | 230 | 215 | 410 | 200 |
| 125 | 255 | 245 | 470 | 240 |
| 150 | 280 | 280 | 550 | 240 |
| 200 | 330 | 335 | 700 | 320 |
| 250 | 380 | 390 | 830 | 320 |
| 300 | 420 | 445 | 960 | 400 |
| 350 | 450 | 500 | 1130 | 400 |
| 400 | 480 | 565 | 1345 | 500 |
| 450 | 510 | 615 | 1450 | 500 |
| 500 | 540 | 670 | 1650 | 720 |
声明:本文中所有文字、数据、图片均只适用于参考。询价提供相关产品参数:产品名称、型号、口径、材质、介质、压力、温度、连接标准、数量等,如对产品有特殊要求,请在询价时一并提出。或者使用场合非常重要或环境比较复杂,请您尽量提供设计图纸和详细参数,由我们专业工程师为您审核选型。
感谢访问我司网站,如你对该产品还有任何疑问可致电我们,我们将为您提供优质的售前咨询服务。咨询手机:15002111058;电话:021-56051151。






