底阀也叫井底阀、吸水阀、滤水阀、莲蓬头。不锈钢底阀是一种节约能源的阀门,一般安装在水泵水下吸管的底端,限制水泵管内液体返回水源,起着只进不出的功能。阀盖上有很多个进水口和加强筋,起到了不易堵塞,主要应用在抽水的管路上。
底阀也是逆止阀,止回阀,英文名称Foot Valve或Bottom Valve,其作用是保证液体在吸入管道中单向流动,使泵正常工作当泵短时间歇停止工作时,使液体不能返回水源箱,保证吸水管充满液体,以利于泵的启动。
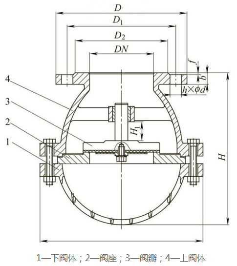
不锈钢底阀常用的连接方式有两种:法兰式,螺纹(丝口)。H42W是不锈钢法兰式底阀,材质有304、316可选。阀盖上有很多个进水口和加强筋,起到了不易堵塞,主要应用在抽水的管路上、水道和支承的作用。底阀有单瓣H42、双瓣H46、多瓣型H45。
不锈钢底阀工作原理:
泵启动前,阀瓣因自重而关闭,可将水注满不锈钢底阀上部的吸入管。泵启动后,吸入管内的吸力将不锈钢底阀阀瓣提升,使水流不断进入泵。停泵后吸力消失,不锈钢底阀又自行关闭。
不锈钢底阀是一种特殊类型的升降式止回阀,安装在泵管道的吸入端。大多数水泵要求在启动之前注水,以排放泵壳内和吸入端管道内的空气,此时需要有一台止回阀,以防止注入的液体流失。
泵壳和吸入管道可以采用手动倾倒液体以充满泵,或者采用向泵壳里施加真空的方法诱导液体进入管道和泵壳。在这两种情况下,不锈钢底阀可以防止充入的液体直接流出或排空泵壳的空气。切记,不锈钢底阀的吸力系统是一个缓阻,导致泵的吸入压力损失,管道的设计和选择阀门时这种缓阻必须加以考虑。
H42W不锈钢底阀性能规范
| 零件名称 | 材料 |
| 阀体、阀盖、阀瓣 | 不锈钢304、316 |
| 阀座 | PTFE /304+石墨 |
| 垫片 | 不锈钢304、316 |
H42W不锈钢底阀外形结构尺寸

| 公称通径DN(mm) | 尺寸(mm) | |||||||
| D | D1 | D2 | b-f | Z-Φd | D0 | h0 | H | |
| 50 | 140 | 110 | 90 | 16-3 | 4-14 | 135 | 17 | 142 |
| 65 | 160 | 130 | 110 | 16-3 | 4-14 | 168 | 25 | 180 |
| 80 | 185 | 150 | 125 | 18-3 | 4-18 | 198 | 32 | 197 |
| 100 | 205 | 170 | 145 | 18-3 | 4-18 | 247 | 40 | 230 |
| 125 | 235 | 2500 | 175 | 20-3 | 8-18 | 272 | 43 | 270 |
| 150 | 260 | 225 | 200 | 20-3 | 8-18 | 315 | 38 | 297 |
| 200 | 315 | 280 | 255 | 22-3 | 8-18 | 405 | 65 | 382 |
| 250 | 370 | 335 | 310 | 24-3 | 12-18 | 465 | 84 | 460 |
| 300 | 435 | 395 | 262 | 24-4 | 12-23 | 510 | 90 | 530 |
声明:本文中所有文字、数据、图片均只适用于参考。询价提供相关产品参数:产品名称、型号、口径、材质、介质、压力、温度、连接标准、数量等,如对产品有特殊要求,请在询价时一并提出。或者使用场合非常重要或环境比较复杂,请您尽量提供设计图纸和详细参数,由我们专业工程师为您审核选型。
感谢访问我司网站,如你对该产品还有任何疑问可致电我们,我们将为您提供优质的售前咨询服务。咨询手机:15002111058;电话:021-56051151。






