陶瓷止回阀又称陶瓷单向阀或陶瓷逆止阀,是指依靠介质本身流动而自动开、闭阀瓣,用来防止介质倒流的。
与普通金属止回阀不同的是,陶瓷止回阀采用结构陶瓷做密封副,阀门与介质接触部分材质均采用结构陶瓷材料,避免与介质直接接触而产生腐蚀的可能。结构陶瓷化学性能稳定,硬度高,可耐绝大部分酸碱介质腐蚀,其优良的耐腐蚀、耐高温、耐磨损及耐冲蚀性能,完全可以替代整台使用贵重金属制造的止回阀,且使用寿命与整台使用贵重金属制造的止回阀更长,是普通金属止回阀寿命的十倍左右,极大的改善了恶劣工况下,止回阀的密封副容易损坏,使用寿命达不到系统检修周期要求的情况,以超高的性价比优势正逐渐取代同类金属阀门。
陶瓷止回阀主要是针对火力发电厂灰渣牌坊系统而设计的,该止回阀不但耐磨损,且非常适用于软浆体和硬浆体介质中使用,也可以在水.油.汽等介质单向流动的管线中使用。
H44TC旋启式陶瓷止回阀适用于高硬度的颗粒介质,或有软颗粒但又有腐蚀性的介质管道上作启闭之用。公称压力1.6MPa,适应温度≤200℃。
与介质接触的部会均为结构陶瓷材料,其化学稳定性及硬度极高(洛氏硬度HRC88),仅次于金刚石。因此,本阀具有极高的耐磨损、耐腐蚀、耐冲蚀性能,且隔热性好、热膨胀小。
球体采用先进研磨设备及工艺制造,球园度精度高,表画质量好,与阀座对研后,利用Zr02陶瓷的自润滑性,可取得很好的密封性能。
陶瓷良好的耐磨性,让本阀经久耐用,可靠性极高,使用寿命长,是钛合金阀和蒙乃尔阀的2—4倍。
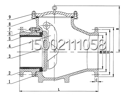
H44TC旋启式陶瓷止回阀主要零件材质
| 序号 | 名称 | 材料 |
| 1. | 阀体 | WCB |
| 2. | 阀杆 | WCB |
| 3. | 阀瓣 | WCB |
| 4. | 摇臂 | WCB |
| 5. | 垫片 | 石墨 |
| 6. | 双头螺栓 | 35 |
| 7. | 螺母 | Q235 |
| 8. | 垫片 | 石墨 |
| 9. | 阀盖 | WCB |
H44TC旋启式陶瓷止回阀主要外形及连接尺寸
| 通径DN | PN KG | L | D | D1 | D2 | C | H | Z-Φd |
| 100 | 16 | 300 | 220 | 180 | 156 | 22 | 270 | 8-18 |
| 150 | 400 | 285 | 240 | 211 | 24 | 290 | 8-22 | |
| 200 | 550 | 340 | 295 | 266 | 24 | 345 | 12-22 | |
| 250 | 700 | 405 | 355 | 319 | 26 | 412 | 12-26 | |
| 300 | 800 | 460 | 410 | 370 | 28 | 468 | 12-26 | |
| 350 | 900 | 520 | 470 | 429 | 30 | 524 | 16-26 | |
| 400 | 1000 | 580 | 525 | 480 | 32 | 524 | 16-30 |
声明:本文中所有文字、数据、图片均只适用于参考。询价提供相关产品参数:产品名称、型号、口径、材质、介质、压力、温度、连接标准、数量等,如对产品有特殊要求,请在询价时一并提出。或者使用场合非常重要或环境比较复杂,请您尽量提供设计图纸和详细参数,由我们专业工程师为您审核选型。
感谢访问我司网站,如你对该产品还有任何疑问可致电我们,我们将为您提供优质的售前咨询服务。咨询手机:15002111058;电话:021-56051151。






