单闸板阀和双闸板阀如何区分?
2023/4/21 10:17:05 点击:
首先,我们知道闸阀按闸板的结构不同分为楔式和平行式两类。
一、楔式闸板有3种结构:
1、单闸板的结构(图1)较简单,但楔角的加工精度要求较高,易发生卡紧、擦伤现象;
2、双闸板(图2a)的结构对楔角精度要求较低,闸板不易楔死,但结构较复杂;
3、弹性闸板(图2b)兼有单闸板和双闸板的优点,能避免它们的缺点,因而应用较广泛。它的结构特点是在闸板的周边上有一道环形槽,使闸板具有适当的弹性。
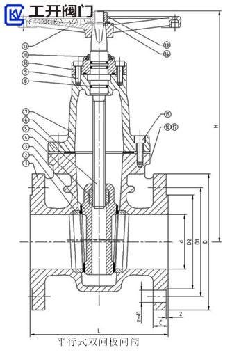
二、平行式闸阀通常采用双闸板结构(图2c);特殊用途的闸阀,如长距离输油、输气的管道上用的大口径闸阀因清扫阀门和管道的需要而采用单闸板结构(图2d)。
感谢访问我司网站,如你对该产品还有任何疑问可致电我们,我们将为您提供优质的售前咨询服务。咨询手机:15002111058;电话:021-56051151。
- 上一篇:截止阀/J41W-100P-DN65/不锈钢高压法兰截止阀 2023/4/25
- 下一篇:闸阀的结构形式代号 2023/4/21

