186型塑料安全阀,UPVC背压阀/安全阀安装于计量泵的正压排放管路上,防止虹吸现象的发生,消除由于投加点压力波动造成的投加量变化,在现场取下调整螺丝上的保护帽,旋转调整螺丝,借助管路中的压力表可调至所需压力,可通过调节螺丝在0-0.6Mpa范围内设置背压。和脉冲阻尼器配合使用减少水锤对系统的损坏,保持泵的出水口到背压阀有定的恒压,保持系统流速均恒。
UPVC安全阀隔膜、阀芯由内部弹簧压紧顶住阀座,当系统管路内压力超过预设定的压力时,隔膜、阀芯被顶起,介质泄出至回流管及容器,在现场可通过调节螺丝借助管路中的压力表在0-1.0Mpa范围内设置压力,泄放压力般设置高于系统压力0.1-0.2Mpa,安全阀调压不允许超过计量泵的zui压力,安装一般尽量靠近泵的出口处,泵与安全阀之间不应有任何阀门。保护泵的安全和系统的正常运行。
UPVC背压阀安全阀型号:18615、18620、18625、18632、18640、18650、18665
UPVC背压阀安全阀口径:DN15、DN20、DN25、DN32、DN40、DN50、DN65
设定背压范围:0.03-0.6Mpa

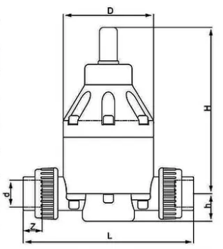
| 规格 | L | H | D | d | z | h |
| DN15 | 175 | 181 | 82 | 20 | 22 | 27 |
| DN20 | 174 | 181 | 82 | 25 | 19 | 29 |
| DN25 | 202 | 198 | 107 | 32 | 21 | 33 |
| DN32 | 251 | 198 | 107 | 40 | 31 | 35 |
| DN40 | 285 | 260 | 155 | 50 | 31 | 60 |
| DN50 | 355 | 260 | 155 | 63 | 39 | 60 |
| DN65 | 376 | 260 | 155 | 75 | 41 | 65 |
声明:本文中所有文字、数据、图片均只适用于参考。询价提供相关产品参数:产品名称、型号、口径、材质、介质、压力、温度、连接标准、数量等,如对产品有特殊要求,请在询价时一并提出。或者使用场合非常重要或环境比较复杂,请您尽量提供设计图纸和详细参数,由我们专业工程师为您审核选型。
感谢访问我司网站,如你对该产品还有任何疑问可致电我们,我们将为您提供优质的售前咨询服务。咨询手机:15002111058;电话:021-56051151。






