真空破坏阀(Vacuum Breaker Valve)是一种安全阀。主要用于容器或管道中,在管道或容器因系统运行或停止而产生负压或真空逐步升高时,该阀能自动开启,破坏真空效应,使管道及其它设备不至产生痕、凹裂等现象,以保护设备的安全。
真空破坏阀原理是当系统产生负压时,通过大气压跟系统压力的压差作用在密封件上,推动密封件,打开密封面把外界大气引入系统,让系统压强升高破坏负压,直到密封件重新下坠密封,外界大气不再进入系统.在系统正压时候,工作介质进入密封件上部,向下压紧密封件,系统压力越大,密封越紧,保证正压时候滴水不漏。
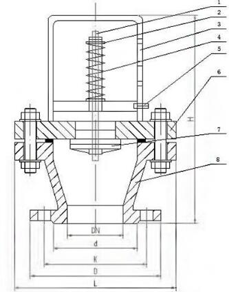
| 1 | 阀杆 | 304 |
| 2 | 调节圈 | 304 |
| 3 | 保护罩 | 碳钢 |
| 4 | 弹簧 | 304 |
| 5 | 固定螺钉 | 304 |
| 6 | 阀盖 | 碳钢 |
| 7 | 阀瓣 | 碳钢/PTFE |
| 8 | 阀体 | 碳钢 |
| 公称通径 | L | H | D | K | D |
| DN50 | 180 | 210 | 160 | 125 | 88 |
| DN80 | 215 | 230 | 195 | 160 | 138 |
| DN100 | 245 | 310 | 215 | 180 | 158 |
| DN125 | 280 | 310 | 245 | 210 | 188 |
| DN150 | 335 | 330 | 280 | 240 | 210 |
| DN200 | 400 | 380 | 335 | 295 | 268 |
| DN250 | 460 | 560 | 405 | 355 | 325 |
| DN300 | 520 | 620 | 460 | 410 | 378 |
为什么破坏阀必须竖直向上安装?
因为如果您水平安装的话,正压的时候密封件不能在自重的作用下密封住密封面,就会从吸气口漏水,如果倒置安装就更糟糕了,正压的时候反而在密封件自重作用下打开吸气口,相当于正压的时候是常开状态,更加密封不住了。
声明:本文中所有文字、数据、图片均只适用于参考。询价提供相关产品参数:产品名称、型号、口径、材质、介质、压力、温度、连接标准、数量等,如对产品有特殊要求,请在询价时一并提出。或者使用场合非常重要或环境比较复杂,请您尽量提供设计图纸和详细参数,由我们专业工程师为您审核选型。
感谢访问我司网站,如你对该产品还有任何疑问可致电我们,我们将为您提供优质的售前咨询服务。咨询手机:15002111058;电话:021-56051151。






