产品介绍
青铜排气阀技术规范
公称压力: PN1 .6MPa
工作介质:水、燃气
工作温度: -10°C≤t≤100°C
管螺纹标准:符合ISO228标准
注:
1、安装后用合适的软管连接排气帽,软管的另一头接到可排放气体和冷凝水的场合,以确保排气阀正常工作。
2、排气阀必须垂直安装。
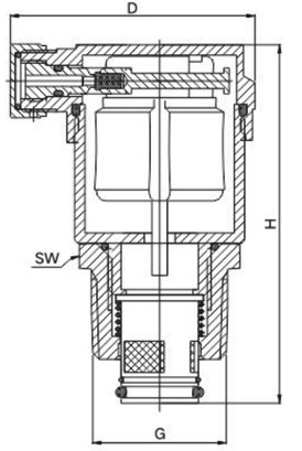
| DN(mm) | NPS(in) | H | D | G | SW |
| 15 | 1/2 | 76 | 47.5 | 1/2 | 22 |
| 20 | 3/4 | 78 | 47.5 | 3/4 | 27 |
| 25 | 1 | 79 | 47.5 | 1 | 33.5 |
声明:本文中所有文字、数据、图片均只适用于参考。询价提供相关产品参数:产品名称、型号、口径、材质、介质、压力、温度、连接标准、数量等,如对产品有特殊要求,请在询价时一并提出。或者使用场合非常重要或环境比较复杂,请您尽量提供设计图纸和详细参数,由我们专业工程师为您审核选型。
感谢访问我司网站,如你对该产品还有任何疑问可致电我们,我们将为您提供优质的售前咨询服务。咨询手机:15002111058;电话:021-56051151。
更多产品






