轴流式止回阀ZLH41H又称贯流式止回阀GLH41H,该种阀除具有一般止回阀的功能外,独特的文丘里流线型流道设计具有介质流阻小、流态好、动作灵敏,对介质压力变化响应速度快。低噪音和低水锤危害阀瓣在弹簧保护避免碰撞;阀体采用整体铸造和锻造设计无外部泄露,阀瓣前后有导向支撑不受安装位置限制可以水平和垂直安装等优点。轴流式止回阀有圆盘型和环盘型结构,具有合理的流道型线,开启压力与压降小和流通能力大等特性。
圆盘型结构的贯流式止回阀阀芯简单,易加工,但运动的阀芯是悬臂结构,当阀门口径较大时,由于阀芯盘的自重和体积大,阀芯运动时易卡阻,因此DN≤250的轴流式止回阀多为圆盘型结构。
DN≥300的贯流式止回阀多为环盘型结构。环盘型结构克服了圆盘型的缺点,阀芯轻,灵活,但结构复杂,阀芯是环形的,密封面大,泄漏面多,不易密封。
轴流式止回阀ZLH41H/贯流式止回阀GLH41H工作原理:
介质通过轴流式止回阀进口端与出口端得压力差来决定阀瓣的开启和关闭。当进口端压力大于出口端得压力与弹簧力的总和时,阀瓣开启。只要有压力差存在,阀瓣就一直处于开启状态,但开启度有压力差的大小决定。当出口端压力与弹簧力的总和大于进口端压力时,阀瓣则关闭并一直处于关闭状态。由于阀瓣的开启与关闭时是处于一个动态的力平衡系统中,因此阀门运行平稳,无噪音,水锤现象大大减少。
轴流式止回阀ZLH41H/贯流式止回阀GLH41H特点:
1、流线型流道。介质不绕流,阀门流阻小,节省能源。
2、采用特殊密封结构,无论阀后压力的高低,阀门都关闭严密,密封性能好。克服了一般止回阀在低背压时密封性能差的缺点。
3、采用浮动的阀瓣结构,能自动补偿因安装和使用中磨损所引起的误差,密封面紧密贴合,提高了密封性能。
4、启闭行程短,并能自动复位无冲击,在较小的流速下,阀门即可全开,关闭时间短。
5、阀门不受安装位置限制,可以水平、垂直及任意角度安装。
6、阀门有标准系列和短系列两种结构长度。短系列结构长度特别适合于安装位置较小,结构比较紧凑的装置中。
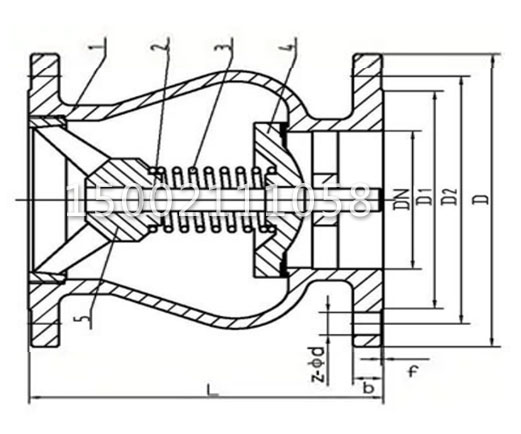
轴流式止回阀ZLH41H/贯流式止回阀GLH41H外形结构
声明:本文中所有文字、数据、图片均只适用于参考。询价提供相关产品参数:产品名称、型号、口径、材质、介质、压力、温度、连接标准、数量等,如对产品有特殊要求,请在询价时一并提出。或者使用场合非常重要或环境比较复杂,请您尽量提供设计图纸和详细参数,由我们专业工程师为您审核选型。
感谢访问我司网站,如你对该产品还有任何疑问可致电我们,我们将为您提供优质的售前咨询服务。咨询手机:15002111058;电话:021-56051151。






